PLC节省输入输出点数的方法
般以为,输入点数是按系统输入信号的数量来确定的。但在实际应用中,通过以下措施可以达到节省PLC输入点数的目的,下面以FX1N系列PLC来介绍。
(1) 组合输入,对于不会同时接通的输入信号,可采用组合编码的方式输入。如图,三个输入信号SB0~SB2只占用两个输入点

(2)分组输入,如下图,系统有手动和自动两种工作方式。用X0来识别使用自动还是手动操作信号,手动时输入信号为SB0~SB3,如果按正常的设计思路,那么需要X0~X7一共8个输入点,若按下图的方法实际,则只需要X1~X4一共4个输入点。图中的二极管用来切断寄生电路。如果图中没有二极管,系统处于自动状态,SB0、SB1、S0闭合S1断开,这时电流从com端子流出,经SB0、SB1、S0形成寄生贿赂流入X0端子,使输入位X2错误的变为on。各开关串联了二极管后,切断了寄生回路,避免了错误的产生。但是用应考虑输入信号强弱。

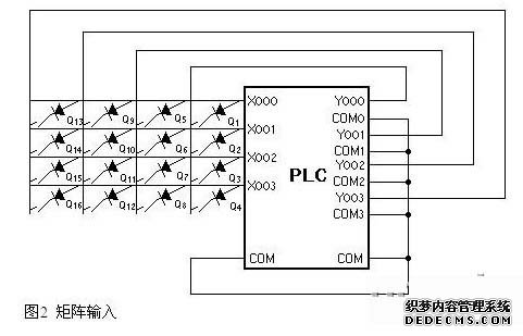
(3) 矩阵输入
下图所示为4*4矩阵输入电路,它使用PLC的四个输入点X0~X3来实现16个输入点的功能,特别适合plc输出点多而输入点不够的场合。当Y0导通时,X0~X3接受的是Q1~Q4送来的输入信号;当Y1导通时,X0~X3接受的是Q5~Q8送来的输入信号;当Y2导通时,X0~X3接受的是Q9~Q12送来的输入信号;当Y3导通时,X0~X3接受的是Q13~Q16送来的输入信号。将Y0的常开点与X0~X3串联结尾输入信号Q1~Q4,将Y1的常开点与X0~X3串联信号为Q5~Q8,后面以此类推

使用时应注意的是除按照上图进行接线外,还需要对应的软件来配合,以实现Y0~Y3的轮流导通;同时还要保证输入信号的宽度应大于Y0~Y3的轮流导通一遍的时间,否则可能丢失输入信号。缺点是使输入信号的采样频率降低为原来的三分之一,而且输出点Y0~Y3不能再使用
(4) 输入设备多功能化
在传统的继电器控制系统中,一个主令(按钮、开关等)只产生一种功能信号。在plc系统控制中系统中,一个输入设备在不同的条件下可产生不同的信号,入一个按钮即可用来产生启动信号,又可用来产生停止信号。如图,只用一个按钮通过X0去控制Y0的通与断,即第一次接通X0时Y0通,再次接通X0时Y0断

(5) 出入触点的合并,将某些功能相同的开关量输入设备合并输入(常闭触点串联输入、常开触点并联输入)。一些保护电脑的报警电路常常采用该方法。
如果是外部某些输入信号总是以某种或与非组合的整体形式出现在梯形图中,可以将它们对应的某些触点在可编程控制器外部串联后作为一个整体输入可编程控制器,只占可编程控制器的一个输入点。
例如某负载可在多处启动和停止,可以将多个启动信号并联,将多个停止信号串联,分别送给plc的两个输入点,如图,与每一个启动和停止信号占用同一个输入点的方法相比,还简化了梯形图电路。

PLC输出控制 法一,原理同矩阵输入,将输出点做成4*4或者5*5即为16或者25个点的输出点
命名Y0~Y7分别为a0 a1 a2 a3 a4 a5 a6 a7
我们排列4*4=16个输出点
a0a4 a0a5 a0a6 a0a7 a1a4 a1a5 a1a6 a1a7,a2a4 a2a5 a2a6 a2a7 a3a4 a3a5 a3a6 a3a7
在接线中,我们按照上面排列依次穿起来
在plc程序中,当a0a4同时on时,第一组开关得电
当a0a5a同时on时,第二组得电
注意事项,当有多个点同时输出时,我们要排除同时得电的某个点,三个点任意组合可能会有重复
如:同时4个点输出,我们就尽量使用第一组
优势:可以由小点数得到多个点,不足:程序和接线稍复杂
