苹果申请传感器新专利 以后手机就能检测雾霾了
谈到创新,没有多少智能手机制造商可以与苹果匹敌。明年将是iPhone诞生的第10年,许多人猜测,苹果可能会为手机增加新功能,猜测很多。本周四,美国专利商标局收到苹果提交的新专利,从中我们也许可以看到一些端倪。
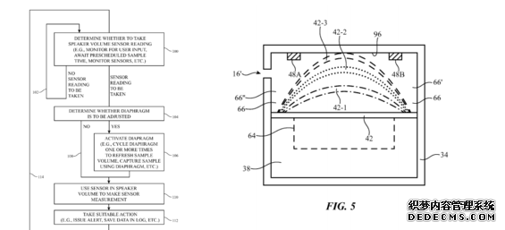
专利资料显示,苹果希望将环境传感器安装到设备扬声器的洞孔处。通过该方法,组件可以部分曝露,从而获得样本材料,与此同时,组件还可以用设备外壳保护。
在扬声器洞孔或者接口处会放置隔膜,它可以用传感器电路吸入、捕捉或者阻挡各种样本材料,比如空气和水。用扬声器系统防水并不是什么新鲜的技术,Apple Watch Series2就做到了,不过,隔膜的运动可以用来更新样本材料,确保读取的数据更精准。
苹果还表示,许多组件可以用作传感器,比如氧传感器、生物物质传感器、温度传感器、一氧化碳和二氧化碳传感器、臭氧传感器、湿度传感器及各种气体传感器。

什么设备会采用这种技术?何时苹果才会大规模生产类似的设备,提供给消费者?这些问题都没有答案;不过如果能在手机或者手表中增加该技术,它的好处是不容忽视的。
主设备可以从传感器读取信息,数据分析完毕之后可以通知用户。例如,如果用户拿着设备进入某区域,该区域充满了高浓度危险气体,设备会发出警告,告诉用户身体可能会受伤。还有,如果这种技术流行起来,未来可能会集成到智能手机、手表中,科学家可以用众包的方式收集数据,结果更精准。
有了特殊实时信息,哮喘患者随时都可以知道哪些区域不能进入,当污染出现时,研究人员可以知道地点在哪里,原因是什么,发生的时间是何时,这样一来就可以及时采取措施,将环境伤害降到最低。效益。
标签
